钢筋的绑扎与安装是钢筋分项工程的重要部分,施工质量的好坏直接决定了主体结构的安全稳定。以下质量通病在钢筋施工现场屡见不鲜,本文总结其原因并提出防治措施,以供工程朋友们参考借鉴。
01
箍筋间距不按图施工绑扎

原因分析:
绑扎操作不严格,不按图纸尺寸绑扎。
防治措施:
根据构件配筋情况,在纵向钢筋上用画出间距点。同时严格要求工人操作。
02
箍筋绑扎不牢固,绑扎点松脱,箍筋滑移歪斜


原因分析:
用于绑扎的铁丝太硬或粗细不适当;绑扣形式为同一方向;或将钢筋笼骨架沉入模板槽内过程中骨架变形。
防治措施:
一般采用20-22号铁丝作为绑线。绑扎直径12mm以下钢筋宜用22号铁丝;绑扎直径12-16mm钢筋宜用20号铁丝;绑扎梁、柱等直径较大的钢筋用双根22号铁丝充当绑线。
绑扎时要相邻两个箍筋采用反向绑扣形式。例如绑平板钢筋网时,除了用一面顺扣外,还应加一些十字花扣;钢筋转角处要采用兜扣并加缠;对纵向的钢筋网,除了十字花扣外,也要适当加缠。重新调整钢筋笼骨架,并将松扣处重新绑牢。
03
箍筋弯钩头平直段长度不足10d

原因分析:
下料不准确;画线方法不对或误差大;用手工弯曲时,扳距选择不当;角度控制没有采取保证措施。
防治措施:
1、加强钢筋配料管理工作,根据本单位设备情况和传统操作经验,预先确定各形状钢筋下料长度调整值,配料时考虑周到;为了画线简单和操作可靠,要根据实际成型条件(弯曲类型和相应的下料调整值、弯曲处曲率半径、扳距等),制定一套画线方法以及操作时搭扳子的位置规定备用。一般情况可采用以下画线方法:画弯曲钢筋分段尺寸时,将不同角度的下料长度调整值在弯曲操作方向相反一侧长度内扣除,画上分段尺寸线;形状对称的钢筋,画线要从钢筋的中心点开始,向两边分画。
扳距大小应根据钢筋弯制角度和钢筋直径确定,可参以下数值(d为钢筋直径)。

为了保证弯曲角度符合图纸要求,在设备和工具不能自行达到准确角度的情况下,可在成型案上画出角度准线或采取钉扒钉做标志的措施。
2、对于开头比较复杂的钢筋,如进行大批成型,最好试加工出一个样品,并根据样品情况进行调整,以作为示范。
04
钢筋漏绑

原因分析:
事先没有考虑施工条件,忽略了钢筋安装顺序,致使下道工序钢筋绑扎困难。
防治措施:
绑扎钢筋骨架之前要熟悉图纸,并按钢筋材料表核对配料单和料牌,检查钢筋规格是否齐全准确,形状、数量是否与图纸相符;在熟悉图纸的基础上,仔细研究各号钢筋绑氙扎安装顺序和步骤。
治理方法:
松绑部分钢筋,达到条件后把未绑扎的钢筋绑扎完成。
05
负筋间距过大

原因分析:
绑扎操作不严格,不按图纸尺寸绑扎。
防治措施:
对操作人员专门交底,或在钢筋骨架上挂牌,提醒安装人员注意。
06
负筋绑扎混乱、歪斜,间距不一

原因分析:
管理人员管理不到位,绑扎工人操作马虎,不按图纸尺寸绑扎。工序安排不当,钢筋受踩踏。
防治措施:
加强现场管理,对操作人员专门认真交底;钢筋必须满绑;合理安排工序,做好保护措施,预防绑扎后踩踏。
07
负筋弯钩方向未向下

原因分析:
绑扎疏忽,未将弯钩方向朝下。
防治措施:
绑扎时使负筋弯钩朝向下;负筋进行满绑。
治理办法:
将弯钩方向不对的钢筋拆掉,调准方向再绑。切忌不拆掉钢筋而硬将其拧转(因为这样做,不但会拧松绑扣,还可能导致整个骨架变形)。
08
箍筋宽度尺寸不准

原因分析:
(1)在骨架绑扎前未按应有的规定宽度定位,或定位不准。
(2)已考虑到将箍筋宽度定位问题,但在操作时不注意,使两个箍筋往里或往外串动。
预防措施:
(1)绑扎骨架时,先扎牢(或用电弧焊焊接)几对箍筋,使四肢箍筋宽度保持符合规定的尺寸,再穿纵向钢筋并绑扎其它箍筋。
(2)按梁的截面宽度确定一种双肢箍筋(即截面宽度减去两侧保护层厚度),绑扎时沿骨架长度放几个这种双肢箍筋定位。
(3)在骨架绑扎过程中,要随时检查四肢箍筋宽度的准确度,发生偏差及时纠正。
治理方法:
取出已入模的钢筋骨架,松掉每对箍筋交错部位内的纵向钢筋的绑扣,校准四肢箍筋的宽度后重新绑扎。
09
钢筋偏位

原因分析:
(1)放线错误,施工员粗心大意,没有认真复核设计图纸造成。
(2)模板固定不牢,在施工过程中时有碰撞柱模的情况,致使柱子总筋与模板相对位置发生错动。
(3)因箍筋制作误差比较大,内包尺寸不符合要求,造成柱纵筋偏位,甚至整个柱子钢筋骨架发生扭曲现象。
(4)不重视混凝土保护层的作用,如垫块强度低被挤碎,垫块设置不均匀,数量少,垫块厚度不一致及与纵筋绑扎不牢等问题影响纵筋偏位。
(5)施工人员随意摇动、踩踏、攀登已绑扎成型的钢筋骨架,使绑扎点松弛,纵筋偏位。
(6)浇筑混凝土时,振动棒极易触动箍筋与纵筋,使钢筋受振错位。
(7)梁柱节点内钢筋较密,柱筋往往被梁筋挤歪而偏位。
(8)施工中,有时将基础柱插筋连同底层柱筋一并绑扎安装,结果因钢筋过长,上部又缺少箍筋约束,整个骨架刚度差而晃动,造成偏位。
预防措施:
(1)在进行柱子定位放线时,严格按照《工程测量规范》精确放线,严格复测,从而保证定位轴线的准确性。
(2)设计时,应合理协调梁、柱、墙间相互尺寸关系。如柱墙比梁边宽50至100mm,即以大包小,避免上下等宽情况的发生。
(3)按设计图要求将柱墙断面尺寸线标在各层楼面上,然后把柱墙墙从下层伸上来的纵筋用两个箍筋或定位水平筋分别在本层楼面标高及以上500mm处用柱箍点焊固定。
(4)基础部分插筋应为短筋插接,逐层接筋,并应用使其插筋骨架不变形的定位箍筋点焊固定。
(5)按设计要求正确制作箍筋,与柱子纵筋绑扎必须牢固,绑点不得遗漏。
(6)柱墙钢筋骨架侧面与模板间必须用埋于混凝土垫块中铁丝与纵筋绑扎牢固,所有垫块厚度应一致,并为纵向钢筋的保护层厚度。
(7)在梁柱交接处应用两个箍筋与柱纵向钢筋点焊固定,同时绑扎上部钢筋。在靠紧搭接不可能时,仍应使上柱钢筋保持设计位置,并采取垫筋焊接联系。
治理方法:
若采用在楼面上对错位筋按1:6坡度较为平缓地折曲复位,并对折曲段上下一定范围内用箍筋加强约束,采用这种方法仍应慎重。若采用对错位较大的钢筋加同规格的复位筋与错位筋实现可靠连接则较为稳妥,错位严重的应与有关人员共同研究加固补强方案。
10
钢筋骨架歪斜变形
(1)梁呈拱形状

(2)钢筋网片呈波浪状

原因分析:
钢筋骨架外形不准,这和各号钢筋加工外形是否准确有关,如成型工序能确保各部尺寸合格,就应从安装质量上找原因。安装质量影响因素有两点:多根钢筋端部未对齐;绑扎时某号钢筋偏离规定位置。施工过程中梁底标高有误。
防治措施:
绑扎时将多根钢筋端部对齐;防止钢筋绑扎偏斜或骨架扭曲。
治理方法:
将导致骨架外形尺寸不准的个别钢筋松绑,重新安装绑扎。
11
钢筋绑扎不到位引起的钢筋砼保护层问题
(1)楼板负筋砼保护层厚度过大


原因分析:
(1)施工操作不规范,钢筋工安装时,钢筋骨架绑扎不牢固,无钢筋支撑措施(马凳、悬挂法等),或支撑过少、分散,在浇筑混凝土时,震动使钢筋偏位。
(2)施工管理不到位:各工种交叉作业,施工人员行走频繁,无处落脚大量踩踏而护筋又不到位,车压人踩,使受力钢筋移位、变形。
防治措施:
(1)在施工过程中,一定要做到规范操作,责任明确,钢筋制作、绑扎、支模、浇筑时严格按照施工技术交底操作。受力筋或箍筋的加工尺寸准确,绑扎牢固,支模尺寸符合要求。混凝土保证良好的和易性,选用合适的振捣器和正确的操作方法,以保证钢筋保护层的质量。
(2)加强教育和管理,使全体操作人员重视保护板面上层负筋的正确位置;必须行走时应自觉沿钢筋支撑点通行,不得随意踩踏中间架空部位钢筋。
(3)安排足够数量的钢筋工(一般应不少于3~4人或以上),在砼浇筑前及浇筑中及时进行整修。
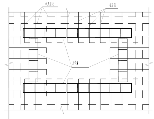
(4)推广使用悬挂法施工工艺《方管加支撑悬挂法控制砼板厚度及钢筋保护层厚度》)。下图所示。


(2)钢筋砼保护层厚度过小

梁底露筋

楼板板底露筋
原因分析:
保护层砂浆垫块间距过大或缺失;振捣混凝土时,振动器撞击钢筋,使钢筋移位或引起绑扣松散。

防治措施:
砂浆垫块间距适当(以骨架不明显下弯变型为宜);对于纵向钢筋,可采用埋有铁丝的垫块,绑在钢筋骨架外侧;对于负弯矩钢筋的砼保护层厚度控制,详见下面的方管式悬挂法控制负弯矩钢筋砼保护层。
处理方法:
范围不大的轻微露筋可用水泥砂浆抹压平整;露筋部位附近混凝土出现麻点的,应沿周围敲开或凿掉,直至看不到孔眼为止,然后用砂浆抹压平整。为保证修复处灰浆或砂浆与混凝土接合可靠,原混凝土面要用水冲洗、用铁刷刮净,使表面没有粉层、砂粒或残渣,并在表面保持湿润的情况下补修。重要受力部位的露筋应经过技术鉴定后,根据露筋严重程度采取措施补救,以封闭钢筋表面(采用树脂之类材料涂刷)防止其锈蚀为前提,影响构件受力性能的应对构件进行专门加固。

方管式悬挂法控制负弯矩钢筋砼保护层

1、材料规定
(1)方管规格:采用壁厚1.2mm以上,外框尺寸为15mm×15mm、20mm×20mm两种,目前市场上为6米长一根,项目部按工程设计板保护层厚度要求选用(方管外框尺寸为砼板负筋保护层厚度)。
(2)方管撑脚:采用φ12或φ14的钢筋制作,最好采用圆钢。
(3)铁铲:用25以上钢筋打成一头扁平的铁铲。
2、制作要求
(1)根据设计板跨,将6米长方管下料成长度为1.5米、3.0米等规格。
(2)将方管焊成架体:两方管平行放置,间距400mm左右,两端头及中间用方管或φ12以上钢筋作为拉杆焊接成一个整体,拉杆间距400mm左右,要求面平。
(3)方管架体焊钢筋撑脚:架体高度=设计板厚=方管外框厚度+撑脚高度(在施工现场,如现有的架体高度小于设计板厚30mm以内时也可在撑脚下加设硬垫块处理,而不必重新制作架体)。
(4)撑脚间距:为提高整体刚度,撑脚间距要求不大于400mm。
(5)焊接要求:整个架体连接点包括拉杆和焊脚均应满焊。
3、施工工艺及注意事项
(1)在楼面板钢筋绑扎完成后,按板厚要求布设相应高度的方管架体,要求架体布设顺直,架体内边距支座边350mm左右。
(2)所有板负筋与架体交叉点均用22#铁丝逐点绑扎牢固,负筋面必须紧贴方管底。
(3)对于采用泵送砼的项目,整个施工段必须全部布完架体,并将负筋全部绑在方管上,方能组织钢筋隐蔽验收。
(4)架体应在砼振捣密实平整后初凝前方能拆除。顺序为:振动棒振捣——平方管面找平砼——平板振动器振捣(要求砼面平方管面)——用铁铲铲断负筋与架体结扎点铁丝——清除铁丝——清除架体——架体部位补砼。
(5)作业人员施工时应尽量不踩踏板负筋(可踩架体)。
4、使用后架体维护
(1)拆下的架体应及时用自来水冲洗干净表面混凝土浆。
(2)及时调整和修复变形架体。
(3)拆下的架体应按规定位置堆放整齐。
(4)工程主体结构完成后,应及时清理干净架体,并涂刷废机油防锈,存放于仓库,避免日晒雨淋。
12
梁柱节点箍筋的制作与安装
1、框架梁柱节点核心部位柱箍筋遗漏

2、框架梁柱节点核心部位柱箍筋数量不足

3、框架梁柱节点核心部位柱箍筋堆匝

原因分析:
由于节点处梁柱钢筋纵横竖交叉,钢筋分布密集,特别是当中间柱子有四根或更多根梁相联的情况下,采用整体沉梁入模时,箍筋绑扎困难,导致节点区下部箍筋无法绑扎,因此存在遗漏柱箍筋现象,或箍筋绑扎不到位造成箍筋堆匝现象。
防治措施:
施工时在节点处四角增加若干根6mm或8mm的附加纵向短筋(长度与节点高度相同);先将柱节点处箍筋按设计图纸间距焊接在纵向短筋上形成整体骨架(俗称猪笼),再将整体骨架套入柱纵筋并搁置在楼板模板面上,然后穿梁钢筋并绑扎或将整体骨架焊在节点处截面高度最大的梁上,最后整体沉梁入模。为防止附加纵向短筋位置与柱纵筋冲突而造成套箍困难,附加纵向短筋应偏离箍筋角部约5cm。采用该法可很好地保证节点处柱箍筋的间距与数量,实施效果较好。需要说明的是,焊接时焊点要适可而止,绝不能焊伤箍筋和梁柱钢筋。

已焊好尚未套进柱内的梁柱节点处的加密箍

准备套进柱内的梁柱节点处的加密箍

与梁钢筋笼一起沉入柱内的梁柱节点处的加密箍
以上内容来源于网络收集整理,如有侵权请联系客服